Najneskorsi prichod rieseni: 3. februar 2000 Adresa: FKS, KZDF MFF UK, Mlynska dolina, 842 15 Bratislava
A-2.1 Vešiak (5 bodov)
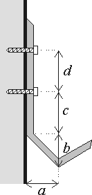
Na stene visí vešiak, ktorý je držaný dvoma skrutkami. Akou silou musí v stene držať každá zo skrutiek, ak má vešiak udržať kabát ťažký 30 kg? Dĺžky a, b, c a d poznáme.
A-2.2 Šošovky (5 bodov)
Iste viete, že akustické vlnenie (zvuk) sa podobne ako svetlo láme na šošovkách, existujú rozptylky a spojky pre zvuk. Prečo bežná, sklenená spojka (rozptylka) pre svetlo funguje ako rozptylka (spojka) pre zvukové vlnenie?A-2.3 Teliesko (5 bodov)
Teliesko sa v čase 0 pohybuje rýchlosťou v. V tomto okamihu naň začne pôsobiť sila F konštantného smeru i veľkosti a rýchlosť telieska sa začne s časom meniť. V čase t je v/2, v čase t/2 je v/4. Aká bude rýchlosť telieska v čase 3t?A-2.4 Pentelka (5 bodov)
Odhadnite, koľko listov papiera sa dá zapísať jednou tuhou z pentelky.